Saturday April 2026

হটলাইন

কনটেন্টটি শেষ হাল-নাগাদ করা হয়েছে: বুধবার, ২৯ আগস্ট, ২০১২ এ ০৫:০৮ PM

সমন্বিত বালাইব্যবস্হাপনা

কন্টেন্ট: সেবা এবং ধাপ

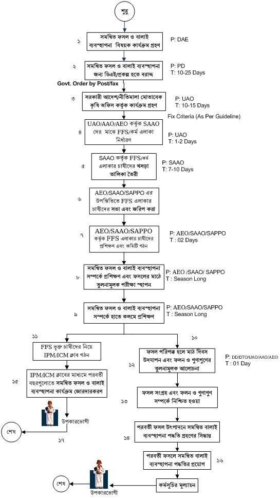
ফাইল ১

এক্সেসিবিলিটি

স্ক্রিন রিডার ডাউনলোড করুন