Saturday April 2026

হটলাইন

কনটেন্টটি শেষ হাল-নাগাদ করা হয়েছে: বুধবার, ২৯ আগস্ট, ২০১২ এ ০৪:৫৪ PM

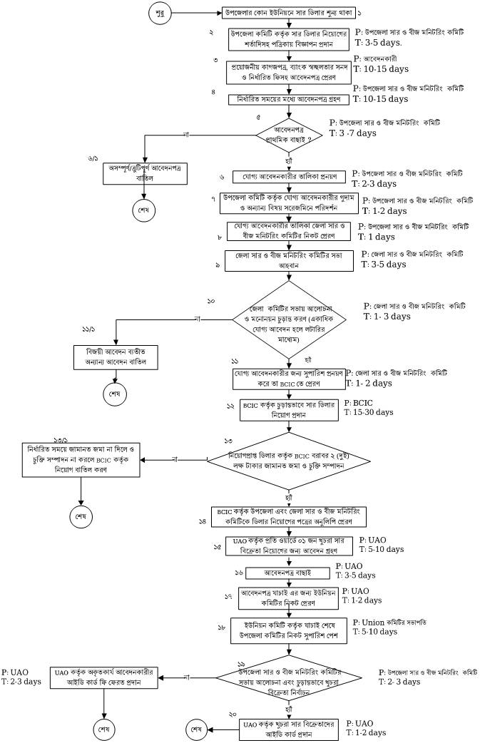
সার ডিলার ও খুচরা সার বিক্রেতা নিয়োগ

কন্টেন্ট: সেবা এবং ধাপ

ফাইল ১

এক্সেসিবিলিটি

স্ক্রিন রিডার ডাউনলোড করুন